nuova general > 角式安全阀 > > G15
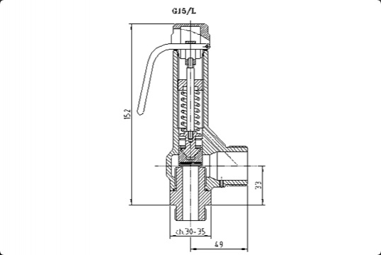
G15
| 型号 | G15 | 通径: 15mm | |
|---|---|---|---|
| 认证 | 公称压力 | 低流量系数 | 泄放压力范围 |
| E.D. 2014/68/EU IV Cat.(PED) | 25 | 0,69 | 0,3 - 16,0 bar |
| EAC | 25 | 0,69 | 0,3 - 16,0 bar |
| ATEX Ex II 2 G c | 25 | 0,69 | 0,3 - 16,0 bar |
| ATEX Ex II 2 D c (1) | 25 | 0,69 | 0,3 - 16,0 bar |
| ASME VIII Div.1 | / | / | / |
| Canadian Reg. CRN | / | / | / |
| 参数设定 | |||
| 材质 | 铜 | 铜和不锈钢组合 | 不锈钢 |
| 样式 | 带手动开启旋钮 | 带手动开启旋钮 | 带手动开启旋钮 |
| 不带手动开启旋钮 | 不带手动开启旋钮 | 不带手动开启旋钮 | |
| 带手动开启手柄 | 带手动开启手柄 | 带手动开启手柄 | |
| / | / | 带气动开启功能 | |
| / | / | 带气动开启和传感器指示功能 | |
| / | / | / | |
| / | / | / | |
| / | / | / | |
| / | / | / | |
| / | / | / | |
| 密封 | N.B.R. (Std) -10 / + 100 °C | N.B.R. (Std) -10 / + 100 °C | N.B.R. (Std) -10 / + 100 °C |
| E.P.D.M. -50 / + 150 °C | E.P.D.M. -50 / + 150 °C | E.P.D.M. -50 / + 150 °C | |
| VITON -20 / +200 °C | VITON -20 / +200 °C | VITON -20 / +200 °C | |
| SILICON -60 / +200 °C | SILICON -60 / +200 °C | SILICON -60 / +200 °C | |
| TEFLON -196 / +250 °C | TEFLON -196 / +250 °C | TEFLON -196 / +250 °C | |
| KALREZ -20 / +250 °C | KALREZ -20 / +250 °C | KALREZ -20 / +275 °C | |
| / | Metal -196 / +250 °C | Metal -196 / +450 °C | |
| 入口规格 | G.1/2" - 3/4" - 1" ISO228 | G.1/2" - 3/4" - 1" ISO228 | G.1/2" - 3/4" - 1" ISO228 |
| R.1/2" - 3/4" - 1" EN10226 | R.1/2" - 3/4" - 1" EN10226 | R.1/2" - 3/4" - 1" EN10226 | |
| 1/2" - 3/4" - 1" NPT | 1/2" - 3/4" - 1" NPT | 1/2" - 3/4" - 1" NPT | |
| DN20-25 PN16-40 | 1" - 1"1/2 Tri Clamp | 1" - 1"1/2 Tri Clamp | |
| 3/4" - 1" 150-300 lb | DN25 DIN405-11851 | DN25 DIN405-11851 | |
| / | DN20-25 PN16-40 | DN20-25 PN16-40 | |
| / | 3/4" - 1" 150-300 lb | 3/4" - 1" 150-300 lb | |
| 出口规格 | G.1" ISO228 | G.1" ISO228 | G.1" ISO228 |
| DN25 PN16-40 | 1"1/2 Tri Clamp | 1"1/2 Tri Clamp | |
| 1" 150-300 lb | DN25 DIN405-11851 | DN25 DIN405-11851 | |
| / | DN25 PN16-40 | DN25 PN16-40 | |
| / | 1" 150-300 lb | 1" 150-300 lb | |
| / | / | / | |
| / | / | / | |
| Nuova General Instruments Srl以上安全阀产品己取得各种权威机构的认证:INAIL (area ISPELS), TÜV, RINA, Bureau Veritas, ABS and Lloyd Register. | |||
| 注意:标注 (1) 无手动开启手柄样式 | |||








